PENRIL DATABILITY NETWORKS
VISTA VCP-1000
Card Type | Ethernet router |
Chip Set | Unidentified |
I/O Options | NIC module, line interface module (4) |

CONNECTIONS | |||
Function | Label | Function | Label |
1, A, B, and C button | B1 | ENTER button | B10 |
2, D, E, and F button | B2 | 0, dash, comma, and underscore button | B11 |
3, G, H, and I button | B3 | DELETE button | B12 |
4, J, K, and L button | B4 | LEFT button | B13 |
5, M, N, and O button | B5 | UP button | B14 |
6, P, Q, and R button | B6 | DOWN button | B15 |
7, S, T, and U button | B7 | RIGHT button | B16 |
8, V, W, and X button | B8 | Power switch | SW1 |
9, Y, Z, and period button | B9 | ||
NIC Type | Ethernet |
Processor | 80186 |
Processor Speed | 20MHz |
Chip Set | Intel 82856 |
Maximum Onboard Memory | 2MB DRAM/128K static RAM |
I/O Options | PCMCIA Type I slot |
Maximum network Rate | 10Mbps |
Data Bus | Proprietary |
Topology | Linear Bus/Star |
Wiring Type | Unshielded twisted pair AUI transceiver via DB-15 port RG-58A/U 50ohm coaxial |

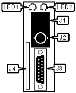
CONNECTIONS | |||
Function | Label | Function | Label |
Unshielded twisted pair | J1 | AUI transceiver via DB-15 port | J3 |
RG-58A/U 50ohm coaxial | J2 | PCMCIA Type I slot for memory card | J4 |
DIAGNOSTIC LED(S) | |||
LED | Color | Status | Condition |
LED1 | Green | On | 10Base-T network connection is good |
LED1 | Green | Off | 10Base-T network connection is broken |
LED2 | Green | Blinking | Network activity detected |
LED2 | Red | On | Coaxial network connection is broken |
LED2 | Red | Blinking | Network collisions detected |
LED2 | N/A | Off | Network activity not detected |
NIC Type | Ethernet |
Processor | 80186 |
Processor Speed | 10MHz |
Chip Set | Intel 82586 |
Maximum Onboard Memory | 512KB DRAM/64K NVRAM/64KB static RAM |
Maximum network Rate | 10Mbps |
Data Bus | Proprietary |
Topology | Linear Bus/Star |
Wiring Type | Unshielded twisted pair AUI transceiver via DB-15 port RG-58A/U 50ohm coaxial |

CONNECTIONS | |||
Function | Label | Function | Label |
Unshielded twisted pair | J1 | AUI transceiver via DB-15 port | J3 |
RG-58A/U 50ohm coaxial | J2 | ||
DIAGNOSTIC LED(S) | |||
LED | Color | Status | Condition |
LED1 | Red | Blinking | Network activity detected |
LED1 | Red | Off | Network activity not detected |
LED2 | Green | On | 10Base-T network connection is good |
LED2 | Green | Off | 10Base-T network connection is broken |
Card Type | Serial |
Processor | Unidentified |
Processor Speed | Unidentified |
Chip Set | Unidentified |
Maximum Onboard Memory | Unidentified |
I/O Options | Serial ports (8) |
Data Bus | Proprietary |

CONNECTIONS | |||
Function | Label | Function | Label |
Serial ports 1 - 8 | CN1-CN8 | Connector for VCP-1000 | W1 |
Card Type | Serial |
Processor | Unidentified |
Processor Speed | Unidentified |
Chip Set | Unidentified |
Maximum Onboard Memory | Unidentified |
I/O Options | Serial ports (32) |
Data Bus | Proprietary |

CONNECTIONS | |||
Function | Label | Function | Label |
Serial ports 1 - 32 | CN1-CN4 | Connector for VCP-1000 | W1 |
Serial ports 1 - 32 | J1-J32 | ||
Note:The backplane of this card will have either J1-J32 installed or CN1-CN4 installed, but not both. | |||