CODENOLL TECHNOLOGY CORPORATION
CODENET-7568
Card Type | Network Interface Card |
NIC Type | Ethernet |
Maximum Onboard Memory | 4K |
Boot ROM | Unidentified |
Network Transfer Rate | 10/100Mbps |
Topology | Star |
Wiring Type | Unshielded twisted pair |
Data Bus | 32-bit PCI |

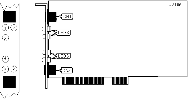
CONNECTIONS | |||
Function | Label | Function | Label |
UTP via RJ-45 connector (100Mbps port) | CN1 | UTP via RJ-45 connector (10Mbps port) | CN2 |
DIAGNOSTIC LED(S) | |||
LED | Color | Status | Condition |
LED1 | Unidentified | On | Data is being received on 100Mbps port |
LED1 | Unidentified | Off | Data is not being received on 100Mbps port |
LED2 | Unidentified | On | Data is being transmitted on 100Mbps port |
LED2 | Unidentified | Off | Data is not being transmitted on 100Mbps port |
LED3 | Unidentified | On | Network connection is good on 100Mbps port |
LED3 | Unidentified | Off | Network connection is broken on 100Mbps port |
LED4 | Unidentified | On | Network connection is good on 10Mbps port |
LED4 | Unidentified | Off | Network connection is broken on 10Mbps port |
LED5 | Unidentified | On | Data is being received on 10Mbps port |
LED5 | Unidentified | Off | Data is not being received on 10Mbps port |
LED6 | Unidentified | On | Data is being transmitted on 10Mbps port |
LED6 | Unidentified | Off | Data is not being transmitted on 10Mbps port |