ALPHA MICROSYSTEMS
AM-740
Card Type | Memory |
Maximum Onboard Memory | 128MB |
I/O Options | Board connector (1) |
Data Bus | VMEbus |

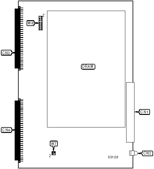
CONNECTIONS | |||
Purpose | Location | Purpose | Location |
Board connector | CN1 | VMEbus | CN3 |
Parity status LED | CN2 | VMEbus | CN4 |
DRAM CONFIGURATION |
Note: The size and number of chips are unidentified. This memory board will be factory installed with 4MB, 8MB or 12MB. |
BASE MEMORY SELECTION | |
Size | W8 |
None | 1 & 2, 3 & 4, 5 & 6, 7 & 8, 9 & 10, 11 & 12, 13 & 14, 15 & 16 |
4MB | Open |
8MB | 1 & 2 |
12MB | 3 & 4 |
16MB | 1 & 2, 3 & 4 |
20MB | 5 & 6 |
24MB | 1 & 2, 5 & 6 |
28MB | 3 & 4, 5 & 6 |
32MB | 1 & 2, 3 & 4, 5 & 6 |
36MB | 7 & 8 |
40MB | 1 & 2, 7 & 8 |
44MB | 3 & 4, 7 & 8 |
48MB | 1 & 2, 3 & 4, 7 & 8 |
52MB | 5 & 6, 7 & 8 |
56MB | 1 & 2, 5 & 6, 7 & 8 |
60MB | 3 & 4, 5 & 6, 7 & 8 |
64MB | 1 & 2, 3 & 4, 5 & 6, 7 & 8 |
68MB | 9 & 10 |
72MB | 1 & 2, 9 & 10 |
76MB | 3 & 4, 9 & 10 |
80MB | 1 & 2, 3 & 4, 9 & 10 |
84MB | 5 & 6, 9 & 10 |
88MB | 1 & 2, 5 & 6, 9 & 10 |
92MB | 3 & 4, 5 & 6, 9 & 10 |
96MB | 1 & 2, 3 & 4, 5 & 6, 9 & 10 |
100MB | 7 & 8, 9 & 10 |
104MB | 1 & 2, 7 & 8, 9 & 10 |
108MB | 3 & 4, 7 & 8, 9 & 10 |
112MB | 1 & 2, 3 & 4, 7 & 8, 9 & 10 |
116MB | 5 & 6, 7 & 8, 9 & 10 |
120MB | 1 & 2, 5 & 6, 7 & 8, 9 & 10 |
124MB | 3 & 4, 5 & 6, 7 & 8, 9 & 10 |
128MB | 1 & 2, 3 & 4, 5 & 6, 7 & 8, 9 & 10 |
Note: If this memory board is used with an AM-175 CPU board (AM-1500 series), W8 must be set as follows: Pins 11 & 12, 13 & 14, 15 & 16 closed. If the AM-1500 is used, only 16MB are available. Any memory above 16MB will be automatically disabled. Before this board can be installed in an AM-1500, a 4MB memory board must be installed. Pins designated should be in the closed position. | |
TIMING DETECTION SELECTION | |
CPU board used | W7 |
AM-175 | Pins 2 & 4 closed |
AM-180 | Pins 2 & 4 closed |
AM-185 | Open |
AM-185 (50) | Pins 1 & 3, 2 & 4 closed |